-联系我们-
电话:0731-84913237
地址:湖南省长沙市雨花区汇金路877号嘉华智谷产业园Q1A2A3栋808
传真:0731- 84914883
网址:www.hnnatai.com
服务邮箱:kf@hnnatai.com
2BE4液环真空泵
详情介绍:
新型的NASH 2BE3/4产品是基于我们超过95年在液环技术领域的研究成果,在大型产品里,NASH 2BE3/4系列真空泵和压缩机是业内领先的产品。
作为一个处于领先地位的真空泵/压缩机有制造商,佶缔集团每年投入大量研发经费,在产品技术和质量方面追求卓越和领先,我们已经在广泛的工业领域里获得认可。
强有力的,能胜任严苛复杂条件下的产品
NASH 2BE3/4 真空泵/压缩机最大吸气量可达40000m3/h(23500acfm),压力范围在 160-1013mbar ads.(4.7-29.9 inches Hg abs.),压缩压力可达 2bar abs.(15psig)。NASH 2BE3/4可以有效地节约能源和水,运行时噪音小,即便上在很艰苦的条件下也能保持安全可靠。
NASH 2BE3坚固耐用,经济安全。在那些真空度要求不高或真空过滤工艺的行业里,2BE3是非常理想的选择。即使是在极端艰苦的条件,也能保持安全可靠的运行。
优势一览
吸气能力增大到40000m3/h(23500acfm)
压差达800mbar (23.5 inches Hg)
超低噪音
抗磨损,腐蚀防护
坚固耐用,低维护
易检测
连接方便
可应用于行业的任何一个领域---适于高要求的真空过滤和压缩系统 适应于任何真空环境和传输设备,可处理各种工作气体,灵活的驱动方式。


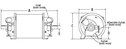
表中所有尺寸均为近似值,顶部直径以英寸为单位,底部直径以厘米为单位。


表中所有尺寸均为近似值,顶部直径以英寸为单位,底部直径以厘米为单位。


欢迎来电:全国服务热线